Sistem Otomasi pada Persewaan Mobil Mainan Berbasis RFID dengan Notifikasi Telegram
Berliana
Rizki Indah Aprilia1, Imam Baihaqi Al Hakim2, Muhamad Taufiq Irvani3, Samuel BETA4
Email: berlianarizki36@gmail.com 1 , imambaihaqi099@gmail.com 2 , mt.irvani@gmail.com 3 , , sambetak2@gmail.com 4
Jurusan
Teknik Elektro, Program Studi D3 Teknik Elektronika
Politeknik Negeri Semarang
Jl. Prof.
H. Sudarto, S.H., Tembalang, Semarang, Jawa Tengah, Indonesia. 50275.
Telp.
(024)7473417, Website : www.polines.ac.id,
email : sekretariat@polines.ac.id
Abstrak – Seringkali playground menjadi tempat penitipan anak ketika orang
tua sedang berbelanja. Namun banyak orang tua yang lupa menitipkan anak saat
mereka sedang asik berbelanja, sehingga banyak anak yang kebingungan menunggu
dan mencari orang tuanya. Maka pada penelitian ini, dibuatlah sistem yang dapat
mempermudah orang tua dalam memantau anaknya. Alat ini menggunakan Node MCU yang
akan mengirimkan pesan melalui telegram kepada orang tua ketika anak mulai
bermain dan ketika waktu bermain sudah habis. Dilengkapi dengan tampilan LCD
16x2 untuk menampilkan identitas gelang RFID yang ditap pada RFID reader.
Ketika baterai habis led merah akan menyala, dan ketika timer berhenti maka
buzzer dan led kuning akan menyala. Pemroses alat ini menggunakan Arduino Uno.
Kata kunci : Arduino Uno, RFID, gelang RFID, Node MCU, LCD 16x2, buzzer, mobil mainan anak.
I.
PENDAHULUAN
Mobil mainan
anak yang menggunakan baterai atau aki sebagai sumber daya dan dapat ditemukan di
playground pada pusat perbelanjaan. Masih menggunakan timer manual dari
penjaganya, penjaga akan menyampaikan kepada pengunjung yang bermain apabila
waktu bermain sudah habis. Sehingga menjadi kurang efisien dan menyebabkan
kelalaian penjaga karena waktu bermainnya tidak sesuai dengan tiket yang
dibeli. Dan penjaga harus benar – benar memperhatikan apabila terdapat baterai
atau aki yang habis, karena tidak terdapat indikator yang memberi informasi
tersebut.
Begitupula
banyak orang tua yang sering menitipkan anaknya untuk bermain ketika mereka
sedang berbelanja. Tidak sedikit orang tua yang khawatir dengan anaknya dan
menjadi terburu – buru saat berbelanja sehingga banyak barang yang lupa untuk
dibeli. Dan tidak sedikit pula orang tua yang lupa jika sedang meninggalkan
anaknya untuk bermain karena keasikan berbelanja, sehingga anak menjadi
kebingunan menunggu dan mencari orang tuanya.
Semakin
berkembangnya teknologi, maka semakin berkembang pula peradaban dan cara
berpikir manusia. Maka dibuatlah sebuah sistem yang memudahkan permasalahan
diatas. Dengan judul “Sistem Otomasi pada Persewaan Mobil Mainan
Berbasis RFID dengan Notifikasi Telegram”. Alat ini akan mengirimkan notifikasi
melalui telegram kepada orang tua ketika gelang RFID ditap pada RFID reader dan
ketika waktu bermain habis. Serta dilengkapi dengan tampilan LCD 16x2 untuk
menampilkan data pada gelang RFID. Untuk menandakan baterai habis maka led
berwarna merah akan menyala. Ketika timer sudah habis maka buzzer akan aktif
dan led berwarna kuning akan menyala. Sistem ini akan mulai berjalan ketika push
button ditekan menjadi ON. Dengan menggunakan Arduino Uno sebagai
mikrokontrolernya.
II.
TINJAUAN PUSTAKA
Penjelasan dan
uraian teori penunjang yang digunakan dalam membuat alat ini diperlukan untuk
mempermudah pemahaman tentang cara kerja rangkaian maupun dasar dasar perencanaan pembuatan alat.
A. Arduino
Uno
Papan Arduino
(Arduino Board) adalah jenis papan elektronis yang saat ini populer untuk
mempelajari ataupun mewujudkan berbagai proyek elektronika dan melibatkan pemrograman.
Papan Arduino dapat dikelompokan menjadi dua kategori utama, yaitu pin digital
dan pin analog.
Berbagai jenis
papan Arduino yang tersedia, antara lain Arduino Uno, Arduino Diccimila,
Arduino Ducmilanove, Arduino Leonardo, Arduino Mega, Arduino Nano. Walapun ada
berbagai jenis papan Arduino, secara prinsip pemrograman yang diperlukan
menyerupai. Hal yang membedakan adalah kelengkapan fasilitas dan pin-pin yang
diperlukan. Mengingat penelitian peningkatan kapasitas ini hanya diwujudkan
dengan menggunakan Arduino Uno. (Abdul Kadir, 2015:2)
Pada alat ini
Arduino Uno digunakan sebagai pemroses data program, dimana program dibuat
melalui aplikasi Arduino IDE.
Gambar 1. Arduino Uno
B. RFID
(Radio Frequency Identification)
Sensor Radio
Frequency Identification (RFID) adalah sensor yang mengidentifikasi suatu
barang dengan menggunakan frekuensi radio. Sensor ini terdiri dari dua bagian
penting: transceiver (reader) dan transponder (tag). Setiap tag tersimpan data
yang berbeda. Data tersebut merupakan data identitas tag. Reader akan membaca
data dari tag dengan perantara gelombang radio. Pada reader biasanya
berhubungan dengan suatu mikrokontroler. Mikrokontroler ini berfungsi untuk
mengolah data yang didapat reader.
Gambar 2. Modul RFID
C. Gelang
RFID
Gelang RFID
pada sistem ini digunakan sebagai Tag RFID yaitu perangkat yang dibuat dari
rangkaian elektronika dan antena yang terintegrasi di dalam rangkaian tersebut.
Rangkaian elektronik dari tag RFID umumnya memiliki memori sehingga tag ini
mempunyai kemampuan untuk menyimpan data. Memori pada tag secara dibagi menjadi
sel-sel. Beberapa sel menyimpan data Read Only, misalnya serial number yang
unik yang disimpan pada saat tag tersebut diproduksi. Selain pada RFID mungkin
juga dapat ditulis dan dibaca secara berulang (Suyoko, 2012).
Gambar 3. Gelang Tag RFID
D. Node
MCU (ESP8266)
ESP8266 merupakan modul wifi yang
berfungsi sebagai perangkat tambahan mikrokontroler seperti Arduino agar dapat
terhubung langsung dengan wifi dan membuat koneksi TCP/IP.modul WiFi serbaguna
ini sudah bersifat SoC (System on Chip), sehingga kita bisa melakukan
programming langsung ke ESP 8266 tanpa memerlukan
mikrokontroller tambahan. Kelebihan lainnya, ESP8266 ini dapat menjalankan
peran sebagai adhoc akses poin maupun klien sekaligus. Spesifikasi dari Node MCU ESP 8266 ini yaitu :
1.
802.11
b/g/n
2.
Integrated
low power 32-bit MCU
3.
Integrated
10-bit ADC
4.
Integrated
TCP/IP protocol stack
5.
Integrated
TR switch, balun, LNA, power amplifier and matching network
6.
Integrated
PLL, regulators, and power management units
7.
Supports
antenna diversity
8.
WiFi 2.4
GHz, support WPA/WPA2
9.
Support
STA/AP/STA+AP operation modes
10. Support Smart Link Function for both Android and iOS devices
11. SDIO 2.0, (H) SPI, UART, I2C, I2S, IR Remote Control, PWM, GPIO
12. STBC, 1×1 MIMO, 2×1 MIMO
13. A-MPDU & A-MSDU aggregation & 0.4s guard interval
14. Deep sleep power <10uA, Power down leakage current < 5uA
15. Wake up and transmit packets in < 2ms
16. Standby power consumption of < 1.0mW (DTIM3)
17. +20 dBm output power in 802.11b mode
18. Operating temperature range -40C ~ 125C
19. FCC, CE, TELEC, WiFi Alliance, and SRRC certified
Gambar 4. Modul ESP32
E. LCD
16x2
LCD (Liquid Crystal Display) adalah suatu
jenis media tampilan yang menggunakan kristal cair sebagai penampil utama. LCD
dibuat dengan teknologi CMOS logic yang bekerja dengan tidak menghasilkan
cahaya tetapi memantulkan cahaya yang ada di sekelilingnya terhadap front-lit
atau mentransmisikan cahaya dari back-lit. Pada alat ini LCD sebagai tampilan
dari hasil pengolahan program dan data pada Arduino Uno yang digunakan sebagai
prosesor.
Gambar 5. LCD 16x2
F. Modul
I2C
Inter Integrated Circuit atau I2C adalah standar komunikasi serial dua arah menggunakan dua saluran yang didesain khusus untuk mengirim maupun menerima data. Sistem I2C terdiri dari saluran SCL (Serial Clock) dan SDA (Serial Data) yang membawa informasi data antara I2C dengan pengontrolnya. Piranti yang dihubungkan dengan sistem I2C bus dapat dioperasikan sebagai master dan slave. Master sebagai memulai transfer data pada I2C Bus dengan membentuk sinyal start, mengakhiri transfer data dengan membentuk sinyal stop dan membangkitkan sinyal clock. Slave adalah piranti yang dialamati master.
Gambar 6. Modul I2C
G. Buzzer
Buzzer
merupakan sebuah
komponen elektronika yang masuk
dalam keluarga transduser, yang dimana dapat mengubah
sinyal listrik menjadi
getaran suara. Nama lain dari
komponen ini disebut
dengan beeper. Dalam kehidupan
sehari – hari, umumnya digunakan untuk
rangkaian alarm pada jam,
bel rumah, perangkat peringatan
bahaya, dan lain
sebagainya.
Gambar 7. Buzzer
III.
PERANCANGAN ALAT
A. Perangkat
Keras dan Rangkaian Elektronika
Adapun alat
dan bahan yang digunakan untuk pembuatan alat ini yaitu :
1.
Baterai
Lithium
2.
Arduino
Uno
3.
Modul
RFID
4.
Node
MCU
5.
Modul
I2C
6.
LCD
16x2
7.
Buzzer
8.
LED
berwarna merah dan kuning
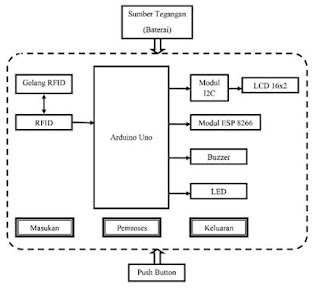
B. Blok
Diagram Hubungan Komponen Utama
Diagram blok sistem
dirancang untuk dapat mengetahui prinsip kerja keseluruhan ataupun rangkaian.
Tujuan lainnya adalah memudahkan proses perancangan dan pembuatan pada masing –
masing bagian, sehingga dapat dibuat sistem sesuai dengan yang diinginkan.
Berikut adalah diagram blok alat yang ditunjuka pada gambar 3.1.
Gambar 3.1 Diagram Blok
Berikut
keterangan singkat dari gambar blok diagram di atas :
·
RFID
digunakan sebagai masukan untuk membaca gelang rfid.
·
Arduino
Uno sebagai mikrokontroler untuk memproses data program, dimana program dibuat
melalui aplikasi Arduino IDE.
·
Modul
I2C sebagai pengontrol LCD dari Arduino Uno.
·
LCD
16x2 sebagai keluaran arduino berupa tampilan data dari gelang RFID
·
Node
MCU digunakan untuk mengirimkan notifikasi melalui telegram.
·
Buzzer
sebagai indikator pewaktu sudah habis.
·
LED
merah dan kuning digunakan sebagai indikator pewaktu habis dan baterai habis.
C. Diagram
Alir
Gambar 3.3 Diagram alir
D. Diagram
Pengawatan
Gambar 3.4 Diagram pengawatan pada fritzing
E. Pembuatan
Alat
Dalam
pembuatan alat ini dilakukan dalam beberapa tahap, yaitu :
1.
Membuat
perencanaan bagan alat.
2.
Membuat
skema pengawatan.
3.
Menyusun
rangkaian sesuai dengan skema pengawatan.
4.
Membuat
program untuk Arduino.
5.
Membuat
kerangka alat.
6.
Memasang
rangkaian pada kerangka alat.
Gambar 3.5 Tampak
Samping
Gambar 3.6 Tampilan
pada LCD
Gambar 3.7 Komponen
pada Alat
IV.
CARA KERJA ALAT
Sistem otomasi
yang digunakan pada persewaan mobil mainan seperti boom boom car yang kita buat
ini dilengkapi dengan RFID yang dapat memberikan informasi identitas siapa yang
sedang bermain dan dapat mengirimkan notifikasi telegram kepada orang tua sang
anak ketika mulai bermain dan ketika pewaktu sudah habis. Ketika push button di
tekan menjadi ON maka sistem mulai berjalan. Pertama sistem ini akan mendeteksi
baterai mobil mainan terlebih dahulu ketika baterai terdeteksi habis maka LED
berwarna merah akan menyala. Kemudian ketika gelang RFID didekatkan pada RFID
reader, akan ditampilkan identitas dari masing – masing gelang pada LCD. Dan
timer pun akan mulai berjalan sehingga mobil mainan sudah bisa dimainkan.
Ketika gelang RFID tadi ditapkan pada RFID reader sistem akan mengirim
notifikasi telegram kepada orang tua sang anak bahwa anak anda sudah mulai
bermain mobil – mobilan. Selanjutnya ketika timer sudah habis maka akan ada
indikator untuk penjaga nya yaitu LED berwarna kuning akan menyala dan buzzer
akan aktif serta akan mengirimkan notifikasi telegram kepada orang tua bahwa
anak anda telah selesai bermain. Ketika sistem tidak lagi digunakan maka dapat
dimatikan dengan cara menekan push button menjadi OFF.
V.
PENGUJIAN ALAT
Dalam proyek yang kami
buat, perlu dilakukan uji coba untuk menentukan kesesuaian fungsi alat dengan
program yang telah dibuat ke Arduino.. Langkah yang kami lakukan untuk
melakukan uji coba adalah :
1.
Mengunggah
program ke alat yang dibuat, ke Arduino apakah sudah sesuai dengan yang
diinginkan atau belum
2.
Menguji dengan cara mengoperasikan alat sesuai cara kerja apakah
berfungsi sesuai yang diinginkan atau tidak.
VI.
PENUTUP
6.1 Kesimpulan
1.
Dengan
adanya Sistem Otomasi yang digunakan pada persewaan mobil mainan menggunakan
RFID dan notifikasi telegram dapat menguntungkan dua pihak yaitu penjaga mobil
mainan dan orang tua. Penjaga tidak dapat melakukan kecurangan waktu serta
dapat mengurangi adanya kelalaian dari penjaga karena terdapat indikator ketika
pewaktu dan baterai sudah habis. Dan orang tua akan mendapatkan notifikasi
telegram ketika anak memulai dan selesai bermain.
2.
Penggunaan
RFID pada alat ini sebagai komponen masukan untuk mengetahui identitas atau
data siapa yang akan bermain mobil.
6.2 Saran
1.
Untuk
proyek selanjutnya dapat dikembangkan lagi dengan dibuat aplikasi yang
digunakan sebagai monitor untuk penjaganya. Sehingga dapat memantau siapa saja
yang sedang bermain dan terdapat keterangan timernya. Serta dapat mengetahui
berapa total harga yang harus dibayar.
2.
Alat
ini belum dilengkapi dengan pengontrol mesin mobil mainan secara otomatis.
Untung pengembangan proyek selanjutnya bisa ditambah dengan relay. Sehingga
mesin mobil hanya akan ON ketika timer mulai berjalan dan akan OFF ketika timer
sudah habis.
VII.
DAFTAR PUSTAKA
Iman, Khoirul. (2017, Juni 07). Dipetik Januari 3, 2021, dari
khoiruliman.wordpress.com : https://www.google.com/amp/s/khoiruliman.wordpress.com/2016/06/07/lcd-dengan-i2c-module-untuk-arduino/amp/
Kadir, Abdul. 2018. Arduino dan Sensor (Ed. I). Yogyakarta:
Penerbit Andi. Halaman 1-4, 24, 227,
265.
Syahwil, Muhammad. 2017. Panduan Mudah Belajar Arduino Menggunakan
Simulasi Proteus (Ed. I). Yogyakarta: Penerbit Andi. Halaman 11
LAMPIRAN
1.
Jurnal, klik di sini
2.
PPT, klik di sini
3.
Program Arduino, klik di sini
4.
Diagram Pengawatan, klik di sini
5.
Diagram Blok, klik di sini
6.
Diagram Alir, klik di sini
Video Demo Alat, klik di sini
BIODATA
PENULIS
Berliana Rizki Indah Aprilia. Penulis dilahirkan di Sukoharjo, 07 April
2000. Penulis telah menempuh pendidikan formal di SDN 2 Ketapang, SMPN 1
Kendal, dan SMAN 1 Kendal. Pada tahun 2018 penulis mengikuti seleksi mahasiswa
baru Diploma (D3) di kampus Politeknik Negeri Semarang (Polines) dengan Program
Studi D3 Teknik Elektronika, Jurusan Teknik Elektro. Penulis terdaftar dengan
NIM 3.32.18.2.05.
Apabila terdapat kritik, saran, dan pertanyaan mengenai penelitian ini bisa
menghubungi melalui E-mail berlianarizki36@gmail.com
Imam Baihaqi Al Hakim. Penulis dilahirkan di Pati, 04 Juni 2000. Penulis
telah menempuh pendidikan formal di SDN Tlogosari 2, SMPN 1 Pati, dan SMKN 2
Pati. Pada tahun 2018 penulis mengikuti seleksi mahasiswa baru Diploma (D3) di
kampus Politeknik Negeri Semarang (Polines) dengan Program Studi D3 Teknik
Elektronika, Jurusan Teknik Elektro. Penulis terdaftar dengan NIM 3.32.18.2.11.
Apabila terdapat kritik, saran, dan pertanyaan mengenai penelitian ini bisa
menghubungi melalui E-mail imambaihaqi099@gmail.com
Muhamad Taufiq Irvani. Penulis dilahirkan di Kab. Semarang, 06 Januari
1999. Penulis telah menempuh pendidikan formal di SD Islam Istiqomah, SMPN 4
Ungaran, dan SMKN 7 Semarang. Pada tahun 2018 penulis mengikuti seleksi
mahasiswa baru Diploma (D3) di kampus Politeknik Negeri Semarang (Polines)
dengan Program Studi D3 Teknik Elektronika, Jurusan Teknik Elektro. Penulis
terdaftar dengan NIM 3.32.18.2.14.
Apabila terdapat kritik, saran, dan pertanyaan mengenai penelitian ini bisa
menghubungi melalui E-mail mt.irvani@gmail.com















